Hyundai’s latest patent concerns a rather interesting battery assembly that, from the looks of it, could work well with a mid-engine vehicle layout. We put mid-engine in quotes because there may not necessarily be an engine involved. Our good friends at AutoBuzz discovered this patent and came up with some intriguing ideas about its possible use floating around a low-slung sports car.
While the idea of a mid-engine sports car gets us excited, the patent also notes that this battery assembly doesn’t have to follow the example designs in the drawings. This means that the design, shape and capacity can be rearranged to meet different packaging needs. This is intriguing for more than one reason; let’s take a look!
To provide the most accurate and up-to-date information, this article uses data sourced from various manufacturers and authoritative sources, including CarBuzz and WIPO.
Hyundai’s patent describes a highly versatile battery with different layouts
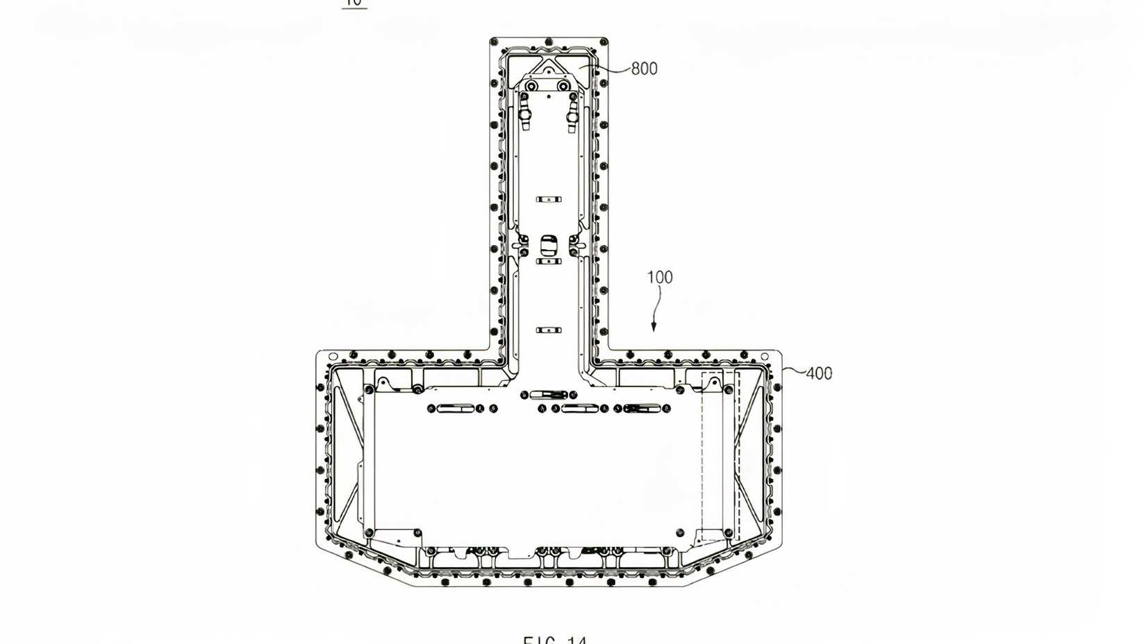
Before we start talking about sporting options, let’s first discuss what exactly we’re looking at in the image above. Creating an EV battery in various forms is not a new concept, although numerous buggers emerge when trying to break the mold, particularly cooling and packaging limitations that limit performance and viability. As we see in the design, the “T”-shaped battery features numerous modules stacked on top of each other instead of the traditional flat layout: three deep and six wide in the main structure; two deep and two wide in the ‘stem’ of the package – called a ‘multi-stage structure’ in the patent.
These modules can be rearranged to meet specific packaging requirements, although Hyundai is addressing a pressing issue that arises when stacking modules in this way: cooling. In a standard EV, produced for lower performance models (i.e. regular EVs), air cooling is often sufficient to control heat dissipation. However, in a high-performance environment where thermal heat exceeds the cooling capacity of traditional air ventilation, liquid cooling can provide the thermal management needed to keep the battery happy.
Hyundai designed the “T” shaped battery to provide just that, with liquid cooling packs, known as “cold plates”, placed between each module. Numerous claims in the patent also consider grounding the battery pack in various ways, including, among other things, connecting the Power Distribution Unit (PDU) to the cold packs via a system of grounding sections that can be customized to the needs of the battery pack packaging.
Hyundai’s “T”-shaped battery patent could hold the key to next-level EV sports cars
AutoBuzz pointed to the possibility of mid-engine sports car applications, using Hyundai’s N Vision 74 concept as the stage. The low-slung concept was built with the idea of a hydrogen fuel cell, a design that would not accommodate a traditional EV battery. However, this “T” shaped battery could work given the variable packing capacity, which is located under the rear seat and in the tunnel that houses the fuel tank. Consider placing it in the transmission tunnel of a gasoline car.
The mid-engine ambition came about when consideration was given to positioning the “T” shaped battery behind the driver, which would give the theoretical sportsster a forward mid-engine emphasis without compromising the low-slung, sleek styling. As always, patents do not guarantee production, although this is something that certainly raises eyebrows given the automotive industry’s push for clean mobility and the performance of electric vehicles breaking barriers every year.
Source: WIPO, AutoBuzz
#Hyundais #battery #technology #rewrite #rules #electric #sports #cars


